Мультиметры
Частотомеры
Приемники
Микросхемы
Радиостанции
Антенны
Тестеры
Аудио
CD-плееры
Усилители
Телефония
Источники питания
Лампы
Стабилизаторы
Генераторы
Таймеры
Датчики
Охранные устройства
Сигнализации
Реле
Индикаторы
Сигнализаторы
Гирлянды
Часы
Дистанционное управление
Передатчики
Регуляторы
Управление устройствами
Управление освещением
Управление нагрузкой
Измерительные устройства
Авто
Разное

УКВ-ЧМ диапазон приемника
 
Источник питания флуоресцентных ламп
 
Электронный балласт для ЛДС
 
Схемы переключателей новогодних гирлянд
Категория: Гирлянды
Схемы переключателей новогодних гирлянд

Схемы новогодних гирлянд которые будут описаны объединяет то, что все они построены на микросхемах КМОП и МОП, все питаются от бестрансформаторных сетевых источников, и все рассчитаны на управление обычными елочными гирляндами, составленными из последовательно включенных миниатюрных лампочек, каждая из которых на напряжение 12-26 В. Обычно такие гирлянды служат украшением домашних елок.

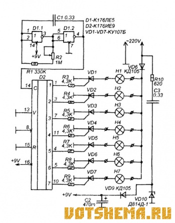
Переключатель на семь гирлянд с эффектом бегущего огня

Алгоритм работы этого переключателя таков последовательно переключаются семь гирлянд, затем следует пауза длительностью как время горения одной гирлянды, затем снова последовательное переключение семи гирлянд. Переключение только в одну сторону.

Рисунок 7
Схемы переключателей новогодних гирлянд


Устройство очень простое, без каких-либо логических хитростей, схема показана на рисунке 7. Мультивибратор на элементах D1.1 и D1.2 вырабатывает импульсы, частоту которых в пределах 2...0,5 Гц можно регулировать переменным резистором R2. Эти импульсы поступают на вход счетчика D2 (К176ИЕ9) с семиразрядным десятичным дешифратором на выходе. Счетчик считает от нуля до семи.

В процессе счета, единицы последовательно появляются на его выходах, начиная с верхнего (вывод 1) и заканчивая нижним (вывод 10). Эти единицы поочередно переключают тиристоры VD1-VD7, в анодных цепях которых включены гирлянды Н1-Н7.

Расположив гирлянды горизонтальными кольцами на разных ярусах елки, и подключив их к этому устройству соответствующим порядком, можно получить эффект перемещающихся снизу вверх светящихся колец, либо перемещающихся сверху вниз светящихся колец (в зависимости от порядка подключения).

Система питания и гирлянды такие же как во всех предыдущих схемах. Если используется микросхемы К176 стабилитрон VD10 должен быть на напряжение 8.. 10В, если используются микросхемы К561 — на 8...14 В.

Налаживание заключается в установке желаемого диапазона регулировки скорости переключения гирлянд подбором сопротивления резистора R1.

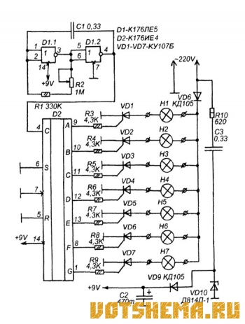
Переключатель на семь гирлянд с хаотическим эффектом

Схема этого устройства (рисунок 8) очень похожа на схему предыдущего (рисунок 7). Разница в том, что вместо десятичного счетчика К176ИЕ9 используется счетчик с выходом на семисегментный индикатор — К176ИЕ4.

Рисунок 8
Схемы переключателей новогодних гирлянд


Поэтому гирлянды будут переключаться по закону переключения сегментов семисегментного цифрового индикатора. Внешне, это может напоминать хаотическое переключение, поскольку постоянно будет меняться число включенных одновременно гирлянд. В остальном, схема аналогична предыдущей.



Поделитесь с друзьями ссылкой на схему:




Чем удобнее всего паять?


 
  • Цифровые часы-будильник
  • Схема электронных приборов на микросхеме К561ЛА7 (К176ЛА7)
  • УКВ-ЧМ диапазон приемника
  • Схема входного усилителя низкочастного частотомера
  • Микросхема К561ЛЕ5 (К176ЛЕ5)
  • Схема входного делителя частотомера
  • Схема бесконтактной системы зажигания (БСЗ) а/м Москвич
  • Микросхемы К561ТР2, К561ТМ2
  • Схема источника трехфазного напряжения
  • Схемы одновибраторов
  • Микросхемы TDA8362, TDA8395, TDA4661, TDA4665
  • Схема цифровых часов-будильника
  • УКВ-ЧМ приемник на ТА2003Р
  • Схема аналогового тахометра на светодиодах
  • Схема простого коммутатора зажигания
  • Цифровые микросхемы серий К561, К176
  • Схема беспроводных наушников
  • Всеволновый УКВ-ЧМ радиоприемник
  • Схема регулятора температуры воды
  • УКВ ЧМ приемник на микросхеме К174ХА2
  • Симметричный мультивибратор
  • Схема генератора высоковольтных импульсов
  • Двухдиапазонный УКВ ЧМ приемник
  • Микроконтроллерная система управления трехфазным двигателем
  • Схема электронной системы зажигания автомобиля Москвич
  • Мультиметр проверяет кварцы
  • Схема простого УМЗЧ на микросхеме К548УН1А
  • DC-DC Преобразователь
  • Схема устройства контроля уровня воды в резервуаре
  • Импульсный высоковольтный генератор
  • Автомобильный вольтметр
  • ДУ ЗУ авто автомагнитола автомат адаптер аккумулятор антенна аудио блокиратор будильник видео генератор геркон гирлянды датчик двигатель декодер диапазон динамик дублер емкость зажигание замок зарядка звонок измерение импульс индикатор источник камера катушка клаксон кнопка конвертер конденсатор контур корпус лампа металлодетектор механизм микросборка микросхема микрофон модулей мощность мультивибратор мультиметр наблюдение нагрузка напряжение насос обмотка одометр оптореле освещение охрана передатчик питание плата преобразователь прибор приемник приставка пробник программатор пульт радиостанция разветвитель разъем регулятор реле ремонт светодиод сенсор сигнал сигнализатор сигнализация синтезатор сирена система сопротивление стабилизатор схема счетчик таймер тахометр тв телефония термометр тестер тиристор тормоз травление тракт транзистор трансивера трансформатор триггер тюнер укв ультразвук управление усилитель частота частотомер часы шифратор эквалайзер элемент
     
    Главная | Регистрация
    Рейтинг@Mail.ru